Typ GP-2G
Kranpuffer als Gummipuffer mit zwei Aussengewinde reduzieren Stoßenergien beim Anschlag über ihre Einfederung und Dämpfung (Stoßdämpfung).
Die schwingungstechnische Auslegung erfolgt über die Aufprallenergie, im Download-Bereich finden Sie Hilfe dazu.
Technische Details entnehmen Sie bitte den Datenblättern der einzelnen Produkte.
Produktbeschreibung - Anwendungen

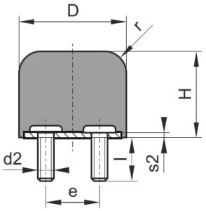
Kranpuffer aus Gummi Typ GP-2G haben eine zylindrische Grundplatte aus Stahl mit 2 Außengewinden zur Befestigung auf dem Grund. Auf dieser Grundplatte ist ein zylindrischer Gummikörper vulkanisiert.
Kranpuffer reduzieren die auf der Oberseite einwirkende Stoßenergie bei Anschlägen auf den Untergrund über den Einfederweg und werden dementsprechend im Kranbau und vielen anderen Anwendungen in der Industrie als Anschlagpuffer eingesetzt.
schwingungstechnische Auslegung
Die schwingungstechnische Auslegung erfolgt nach dem Energieaufnahmevermögen, das von vielen Faktoren wie
- Belastungshäufigkeit,
- Umgebungstemperatur,
- Umweltbedingungen,
- Aufprallgeschwindigkeit usw.
abhängig ist.
In den Datenblättern im Bereich Download finden Sie für verschiedene Lastbedingungen Berechnungsansätze und eine Kalkulation der Restkraft- und Federwegbestimmung für Kranpuffer Gummi und Kranpuffer PU. Die bei den Produkten angegebenen zulässigen Belastungswerte gelten aufgrund der Faktoren als Richtwerte.
Weitere Informationen zum Thema Auslegung finden Sie im Bereich Lösungen auf unserer Webseite. Wir unterstützen Sie auch gern bei der Auslegung.
Kennzeichnung
Zur eindeutigen Kennzeichnung der Produkte besitzen die Artikel neben unserer Artikelnummer folgende Systematik.
Beispiel:
Artikelnummer 100090
GP – 2G – 250 x 200 – M20x47 – NR 70
| GP | Gummi Puffer |
| 2G | Typ 2G (zwei Gewinde) |
| 250×200 | Durchmesser 250mm Höhe 200mm |
| M20x47 | Gewinde M20, 47mm lang |
| NR | Naturkautschuk |
| 70 | 70° Shr A (Gummihärte) |
Wissenswertes
Anzugsmomente Schraubverbindung und Schraubensicherung
Bei der Montage von GummiMetall Puffern bitte die Standard- Festigkeit der Gewinde 5.6 (nach DIN ISO 898 T2) beachten, sofern nicht beim Produkt abweichend spezifiziert. Schraubverbindungen elastischer Lager erfordern aufgrund der dynamischen Beanspruchung immer die Verwendung einer entsprechenden Schraubensicherung.
Gummihärte
Die marktüblichen Einteilungen sind
- weich (30° … 45° Shr A)
- mittel (50° … 65° Shr A)
- hart (70° … 80° Shr A).
Wir liefern in Gummihärten von 30° bis 80° Shr A in Abstufungen von 5° Shr A. Die Gummifertigung erfolgt mit den zulässigen Maßabweichungen nach DIN ISO 3302-1 Teil1 M3/M4 und in einer Härtetoleranz von ±5° Shr A, wenn nicht explizit abweichend vereinbart.
Federeigenschaften
Die axiale Steifigkeit (Federrate) eines Gummipuffers wird durch die Geometrie des Puffers (Ø und Höhe) und die Gummihärte bestimmt. Ein Puffer mit einer geringeren Höhe bei gleichem Ø und Gummihärte besitzt eine höhere radiale und axiale Steifigkeit.
Parabelförmige und konische Anschlagpuffer bieten durch ihre Kontur einen progressiven Abbau der Stoßenergie.
Beständigkeiten
Standardmäßig werden Gummipuffer in NR (Naturkautschuk) angeboten, da dieser sehr gute elastische Eigenschaften besitzt. Sind besondere Beständigkeiten (z.B. gegen Kraftstoffe / Öl) gefordert, können Puffer auch in anderen Gummiwerkstoffen gefertigt werden. Ausführliche Informationen dazu finden Sie in der Rubrik „Gummiwerkstoff“ oben, wir beraten Sie natürlich auch gern zum Thema.
Verwendung als Stellfuß
Bitte beachten Sie, dass Gummi (standardmäßig schwarz) in Kontakt mit sensiblen Oberflächen Abrieb und Verfärbungen erzeugen kann. Für diese Fälle besteht die Möglichkeit, den Gummi in hellgrau auszuführen.
Lagerlisten und Datenblätter (Download)
Download Übersicht und Auslegungsgrundlagen
Kranpuffer-Gummi-Übersicht.pdf (163 KB)
Werkstoffeigenschaften-Gummi.pdf (75 KB)
ArtNr. | ⌀ | Höhe | Gewinde | Gewindelänge | Max Belastung | Bestand | Lieferzeit | Preis | |
|---|---|---|---|---|---|---|---|---|---|
100 | 80 | 12 | 36 | 95.000 | 18 | sofort | 24,28 € | ||
125 | 100 | 16 | 36 | 150.000 | 3 | sofort | 32,65 € | ||
160 | 125 | 16 | 44 | 240.000 | 11 | sofort | 76,18 € | ||
200 | 160 | 20 | 44 | 375.000 | 4 | sofort | 131,22 € | ||
250 | 200 | 20 | 47 | 400.000 | 6 | sofort | 291,35 € |
Gummipuffer Kranpuffer, 2 Außengewinde ✚ übersichtlich und schnell online kaufen ✚ große Vielfalt an Gewinden, Ø und Höhen ✚ detaillierte Datenblätter ✚ elastische Lager zur Stoßdämpfung
